用途に合わせた形状、材質をご用意。

ブラスト作業中に研削材を外部に漏らすことを防ぎ、覆い・研掃室の代わりを果たします。標準のアルミ合金製G型の他、耐摩ゴム製W型、スチール製のS型がございます。
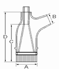
サイズ
| G型 | A φmm | B φmm | C mm | D mm |
|---|---|---|---|---|
| G-60 | 60 | 38 | 130 | 150 |
| G-80 | 80 | 50 | 170 | 200 |
| G-100 | 100 | 50 | 220 | 240 |
| G-120 (キャスター付) | 106 | 50 | 210 | 285 |
| G-80W | 80 | 50 | 160 | 200 |

| S型 | A φmm | B φmm | C mm | D mm |
|---|---|---|---|---|
| S-75 | 75 | 50 | 130 | 180 |
| S-100 | 100 | 65 | 180 | 230 |



